顯示廣告
隱藏 ✕
※ 本文轉寄自 ptt.cc 更新時間: 2024-11-08 22:03:42
看板 C_Chat
作者 onionandy (Kayou)
標題 Re: [情報] 帕魯專利侵權訴訟報告
時間 Fri Nov  8 19:38:02 2024


我真的覺得專利法應該加入必修甚至高中就應該學
在現在這種越來越注重權利保障的社會

台灣跟日本的專利法大同小異
連申請專利的流程都差不多

我們直接來看日本特許商標事務所寫好的專利申請流程
https://www.y-po.net/faq/q26/

首先 提出專利申請到專利內容公開
需要1年6個月的時間
三年內會進行專利審查作業

然後等到審查通過(不管中間補件之類耗時多久)
還要等到繳納完專利費過一個月之後
才會進行專利登錄


所以只要有一點點關於專利申請的基本認知
你不需要了解專利分割是什麼
不需要了解專利是什麼時候申請的

都可以知道是帕魯公司在刻意帶風向
專門騙那些毫無專利知識的人

難看喔


※ 引述《GrimmNotes (強逼自己玩遊戲的人最蠢)》之銘言:
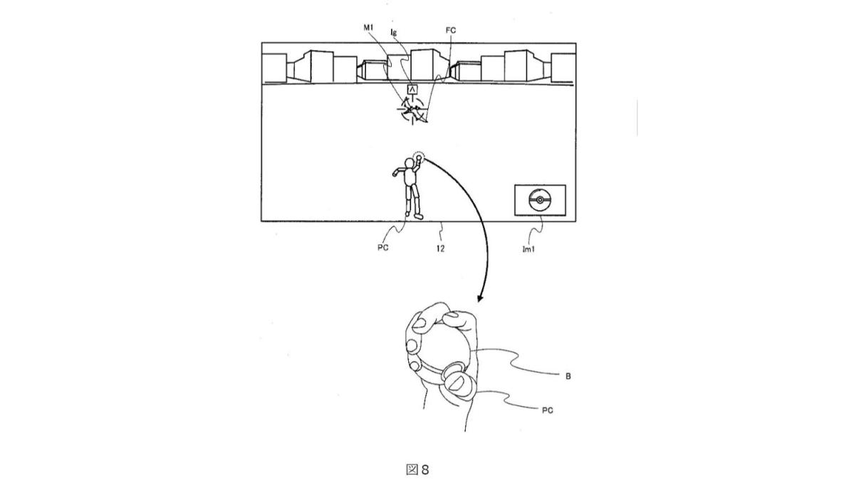
: 這三件都是分割案,分割案沿用母案的申請日
: 原文寫的申請日其實是「申請分割」的時間點
: 而不是母案的申請日
: 所以這三件的實際申請日都更早
: 例如第一篇是2021年
: 不過專利權是核准後才有效
: 所以老任要利用的是公開後核准前的補償制度
: 這個要件是核准前要先警告
: 原文有提到
: 大概是這樣
: 看不懂也沒關係
: 跟著喊米哈遊皮皮挫就好
: -----
: Sent from JPTT on my iPhone

--
る~る~る~る~・・・                           ▂         
  出涸らし女神が・・・                         \  /\          
    運ばれてくよー                            \ /         
      きーっとこのまま・・・                            
        売られて行ーくーよー・・・             —             δkayou
          貨になれ私...                        /▂▂▄\         

--
--
※ 發信站: 批踢踢實業坊(ptt.cc), 來自: 126.234.186.251 (日本)
※ 作者: onionandy 2024-11-08 19:38:02
※ 文章代碼(AID): #1dBVWTpx (C_Chat)
※ 文章網址: https://www.ptt.cc/bbs/C_Chat/M.1731065885.A.CFB.html
mooncakesc: 我高中物理必修現在還是只記得能量守恆而已,這種知識1F 11/08 19:41
mooncakesc: 性內容不是必修就會變的人人知道啦
Landius: 就概念的東西其實公民課程就能講了3F 11/08 19:42
Louta: 專利法就專業領域搞就好了  放必修幹嘛= =4F 11/08 19:42
pickchu22001: 我們公司固定時間會要求複習,科技業很怕被告.5F 11/08 19:44
kaj1983: 老任只要把過審日丟出來就可以一刀斃命了6F 11/08 19:45
yyff: 並非要等公開後才審查7F 11/08 19:45
aww525: 放必修大概還是會被忘記8F 11/08 19:45
zseineo: 學不學不是重點吧 只是很多人看到有問題的地方選擇先推9F 11/08 19:45
zseineo: 文而不是先思考 這種人學了也沒用
asleep82: 我法盲啦 所以申請到通過之前出的作品都可以回溯去告嗎?11F 11/08 19:46
asleep82:  還沒通過之前開發者怎麼知道有這條專利?難道所有申請中
asleep82: 的東西都不能碰嗎?沒通過前我要怎麼知道最後會不會過?
yyff: 那張圖只是說三年內都可以申請實審14F 11/08 19:46
onionandy: 專利不是只有科技業才會碰 任何跟製造產品有關的行業都15F 11/08 19:47
onionandy: 會扯上邊
yyff: 有公開制度 所以即使在專利沒過前 其他廠商也可以知道17F 11/08 19:48
onionandy: 專利公開之後不管有沒有過你就該先避開18F 11/08 19:48
syuan0808: 隨便看到日期就覺得的自己比老任聰明真的超好笑19F 11/08 19:48
ssm3512: 我公民都低空飛過==20F 11/08 19:49
ssm3512: 長知識
pickchu22001: 感謝認真解說22F 11/08 19:51
verdandy: 專利公開的話,最好先避。所以有的產品會說XX專利申請中23F 11/08 19:51
asleep82: 照常識來說不是生效之後的才算,不可回溯嗎?就像法律通過24F 11/08 19:51
asleep82: 前犯的罪不會罰一樣,頂多說法律通過後你不能再做一樣的
asleep82: 事要限期改善,但不能去罰通過前的時間點吧
Gwaewluin: 實審不一定要等到公開,也是有在公開前就拿到授權的27F 11/08 19:51
FaerieDragon: 其實會看字就好28F 11/08 19:52
kaj1983: 所以那個關鍵的日期是在什麼時候啊?29F 11/08 19:52
asleep82: 不然大公司隨便申請一大堆專利不管會不會過 大家都得先30F 11/08 19:53
asleep82: 避開 那小廠就不用開發了
kaj1983: 出願日?出願公開日?32F 11/08 19:53
RockZelda: 不過這次老任專利是2021年申請,阿爾宙斯2022年發售33F 11/08 19:53
RockZelda: 專利2023年通過
yyff: 出願日35F 11/08 19:53
S2357828: 因為有規定要公開吧 算是保護公開者的創新措施?36F 11/08 19:54
verdandy: 公開也算是變相保護其他人,可以提前放棄研發,不多花37F 11/08 19:55
kaj1983: 所以申請日那天就已經在保護申請人了是吧38F 11/08 19:55
verdandy: 無用成本39F 11/08 19:55
RockZelda: 專利不是本來就先搶先贏嗎?40F 11/08 19:55
kaj1983: 其他人看到已經被保護的自然就要避開41F 11/08 19:55
onionandy: 專利本來就先搶先贏啊 大廠想得出來的東西你小廠比別人42F 11/08 19:56
s175: 不敢想像要是沒有申請 這家縫合怪公司會怎麼搞…43F 11/08 19:56
onionandy: 晚才想到那不是本來就該避開44F 11/08 19:56
kaj1983: 並不是以專利審核過的日期才開始保護45F 11/08 19:56
※ 編輯: onionandy (126.234.186.251 日本), 11/08/2024 19:58:47
yyff: 公開就是為了保護其他人+促進技術發展46F 11/08 19:57
kaj1983: 法律保障和約定俗成的習慣不一樣啊,如果法律保障你申請47F 11/08 19:57
none049: 不要離譜到隨便說小廠有東西跟大廠有專利衝突到,結果問48F 11/08 19:58
none049: 哪個專利結果根本沒公開(沒人知道)就好
kaj1983: 時就納入保護範圍了,其他人還敢碰那就是該罰50F 11/08 19:58
Gwaewluin: 公開是專利制度創立的目的,為了讓大家分享技術來促進51F 11/08 19:58
Gwaewluin: 產業發展,所以申請專利必會公開
yyff: 獲得專利權後 權利回溯至申請日起算53F 11/08 19:59
Gwaewluin: 選擇不公開也可以,這樣會稱作營業秘密,都市傳說的可54F 11/08 19:59
Gwaewluin: 口可樂配方就是屬於營業秘密的概念
rockEXE: 專利的內容是什麼? 有合理嗎? 有特別到需要保護嗎?56F 11/08 20:00
kaj1983: 所以申請了也不一定代表最後這個專利是你的57F 11/08 20:00
Gwaewluin: 忘了說,不公開就是不申請專利,自己把技術藏起來58F 11/08 20:00
kaj1983: 如果沒過審沒獲得專利,那就不會回溯到申請日了59F 11/08 20:00
verdandy: 小廠要是領先大廠想出來並成功申請,反而還能卡住大廠60F 11/08 20:01
verdandy: 美國有的新創公司就是靠這點讓大廠收購
Tsozuo: 你可以請他授權專利使用62F 11/08 20:02
Gwaewluin: 順便說一下通常第一次繳規費就會順便繳費請求實審了63F 11/08 20:03
Y1999: 一堆數學公式放必修還不是畢業就忘光,重點是有沒有在使用64F 11/08 20:03
Gwaewluin: 接下來就只有等待,我工作經驗中看過等最久的是一個歐65F 11/08 20:03
rockEXE: 任天堂這3項專利在日本以外還有效嗎?66F 11/08 20:03
Gwaewluin: 盟申請案,申請過七年才收到第一次官方意見67F 11/08 20:03
yyff: 是 沒獲得專利權就沒有權利抓人 也無須回溯68F 11/08 20:04
onionandy: 小廠先想到就是自己壯大或是走大廠收購流程了69F 11/08 20:04
lavendin82: 就算放必修我忘給你看啊 不要講的好像有學過就能記一70F 11/08 20:04
lavendin82: 輩子
kaj1983: 感謝說明,那申請專利並公開也是有其風險的...72F 11/08 20:04
onionandy: 為什麼大廠那麼愛收購工作室 有時候除了IP跟人才 要的73F 11/08 20:05
onionandy: 東西還有專利
kaj1983: 不過小廠能這麼厲害把你公開的技術都偷光再優化的話75F 11/08 20:06
kaj1983: 那也只能怪自己技不如人
kaj1983: 只是這機率應該非常低
yyff: 專利不需要多特別 但這個說起來就太囉嗦了78F 11/08 20:07
verdandy: 專利申請起來毛一堆,要先找有沒有撞其它專利79F 11/08 20:07
william00: 不過就算有專利 還不是有機會打一打變成專利無效80F 11/08 20:07
verdandy: 涵蓋範圍籠統不會過,太細也有問題81F 11/08 20:08
verdandy: 所以那些大廠才養一拖拉庫專利律師
kaj1983: 以帕魯這案被告的是子案,那也受母案申請日保障嗎?83F 11/08 20:10
kskg: 嫌高中生課太少是不是?84F 11/08 20:10
yyff: 子案的申請日沿用母案申請日85F 11/08 20:12
yyff: 上一篇也有提到
kaj1983: 那也要子案有過審才會回溯對吧87F 11/08 20:13
S2357828: 從上面那篇來看分割出來的項目是包含在原申請案裡的88F 11/08 20:13
macocu: 專利基本原理跟法規不難就是了,基本法學觀念會就會了89F 11/08 20:13
spfy: 其實真的很多人的新論點是我一個小公司怎麼知道有哪些專利90F 11/08 20:13
spfy: 我會不會不小心踩到被告了才知道=>任天堂是邪惡帝國一堆專
spfy: 利準備告人
Nitricacid: 放必修是怕沒人反專利法嗎93F 11/08 20:14
onionandy: 子案只是母案的分割 沒有新東西也不會有 只是細分94F 11/08 20:14
onionandy: 開發產品不去查哪有東西有沒有保護那是活該
onionandy: 還分什麼大小廠= =
macocu: 阿帕魯抄起家的,自己就該注意專利吧。而且有警告時間97F 11/08 20:15
macocu: 沒警告直接提告那還有得說,有警告你不迴避那就是故意了
kaj1983: 法律眉角很多,一堆細節要注意99F 11/08 20:16
f40075566: 跟我講幹嘛 跟他們法務講啊100F 11/08 20:21
bibbosb4: 帕魯就覺得自己天選之人+小公司掩護+獨立遊戲之盾,以為101F 11/08 20:23
bibbosb4: 被抄襲的都不會開告
ASAKU581: 看不懂這篇要講啥,只覺得在炫耀自己很懂103F 11/08 20:26
sopdet: 高中有很多廢課可以刪阿 像古文跟古文還有古文104F 11/08 20:26
jeff666: 感謝解說105F 11/08 20:27
Slas: 看不懂別人在說什麼還硬要發言不是更奇怪106F 11/08 20:28
coldy: 古文也有不少很棒的 至少普遍比白話文好107F 11/08 20:29
gm3252: 台灣一堆彩繪村餐廳直接用寶可夢海賊王圖的108F 11/08 20:35
wulouise: 我修過專利是知道啦,但是真的沒聽過是會不知道得沒錯109F 11/08 20:55
newasus: 高中比較需要常識課 一堆連火車都不會搭路標看不懂的人110F 11/08 20:57
newasus: 學那麼多專業知識幹嘛,日常又用不到
sokayha: 刪什麼古文 刪那些無病呻吟的新詩才是正道112F 11/08 21:02
sokayha: 每次看到捷運裡刊的那些莫名其妙的都很想吐嘈
Snomuku: 同意 新詩一堆現代文壇勢力小圈圈自肥114F 11/08 21:04
hasroten: 新詩真的一堆低能作品115F 11/08 21:15
feartis: https://bit.ly/40D2Jpa 上完課來看看智財顧問的意見116F 11/08 21:26
任天堂が対パルワールド訴訟で使用した特許はたぶんこれ(栗原潔) - エキスパート - Yahoo!ニュース
[圖]
「任天堂と株式会社ポケモン、「パルワールド」開発のポケットペアを特許権侵害で提訴」というニュースがありました(任天堂のプレスリース)。ご存知のように、パルワールドに登場するモンスターの造形がポケモンに ...

 

--
※ 看板: ACG 文章推薦值: 0 目前人氣: 0 累積人氣: 204 
作者 onionandy 的最新發文:
點此顯示更多發文記錄
分享網址: 複製 已複製
r)回覆 e)編輯 d)刪除 M)收藏 ^x)轉錄 同主題: =)首篇 [)上篇 ])下篇