※ 本文為 MindOcean 轉寄自 ptt.cc 更新時間: 2020-07-13 10:45:41
看板 Gossiping
作者 標題 [新聞] 小英大選御用公司? 疑拿走2千7百萬經費
時間 Sun Jul 12 15:02:59 2020
1.媒體來源:
※ 例如蘋果日報、自由時報(請參考版規下方的核准媒體名單)
新頭殼
2.記者署名:
※ 若新聞沒有記者名字或編輯名字,請勿張貼,否則會被水桶14天
※ 外電至少要有來源或編輯 如:法新社
新頭殼newtalk | 林朝億 台北市報導
3.完整新聞標題:
※ 標題沒有完整寫出來 ---> 依照板規刪除文章
小英大選御用公司? 疑拿走2千7百萬經費 選後就關門
4.完整新聞內文:
※ 社論特稿都不能貼!違者刪除(政治類水桶3個月),貼廣告也會被刪除喔!可詳看版規
小英大選御用公司? 疑拿走2千7百萬經費 選後就關門
新頭殼newtalk | 林朝億 台北市報導
發布 2020.07.12 | 13:29
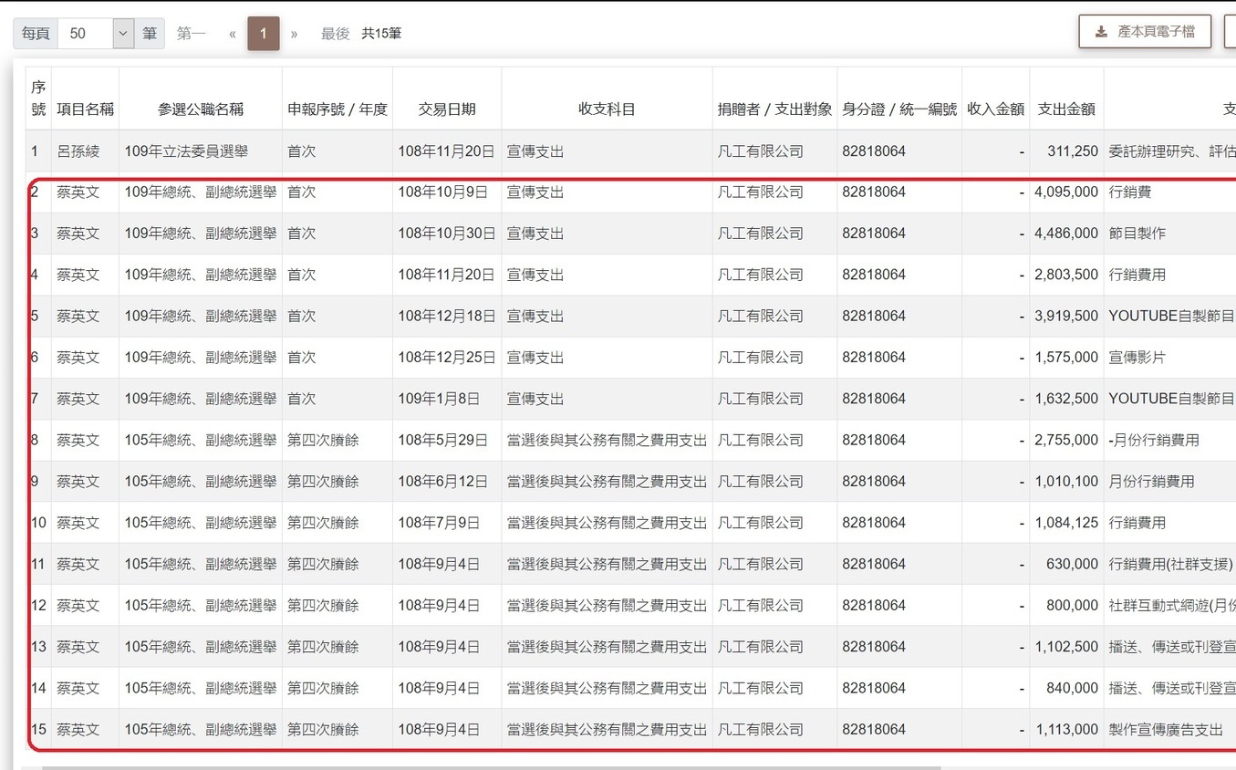
020年總統、立委競選經費日前公開,1家相當特殊的公司1年內拿走了蔡英文團隊2千7百
萬宣傳支出,選後就關門,似乎也無登記電話號碼,相當令人矚目。
2020年大選政治獻金10日公開上網。除了幫推、投石兩家跟蔡英文前幕僚關係深厚的公關
公司拿下2千9百多萬元經費外,另一家業界很少人聽過,在政府公共工程採購網裡也找不
到得標資料的凡工有限公司,則從蔡陣營拿走了大筆經費。
公司拿下2千9百多萬元經費外,另一家業界很少人聽過,在政府公共工程採購網裡也找不
到得標資料的凡工有限公司,則從蔡陣營拿走了大筆經費。
在政治獻金公開查閱平台上,凡工有限公司似乎僅承攬蔡英文競選總部,除了一筆民進黨
立委呂孫綾的31萬多的研究調查經費外,其餘14筆都是由蔡英文陣營支出,這包括2020競
總的5筆支出18,822,750元,及上次2016年競選經費第四次賸餘,所謂的「當選後與其公
務有關之費用支出」 (2019/5/29-2019/9/4)共9,334,725元。全部加起來總共達
立委呂孫綾的31萬多的研究調查經費外,其餘14筆都是由蔡英文陣營支出,這包括2020競
總的5筆支出18,822,750元,及上次2016年競選經費第四次賸餘,所謂的「當選後與其公
務有關之費用支出」 (2019/5/29-2019/9/4)共9,334,725元。全部加起來總共達
27,846,225元。
在政府工商登記上,凡工有限公司代表人邱瀚逸,資本額1,000,000元,108年2月27日核
准成立,109年3月30日 就解散,公司登記在臺北市中山區南京東路3段101號4樓。營業內
容登記為所營事業資料管理顧問業、一般廣告服務業等等。
准成立,109年3月30日 就解散,公司登記在臺北市中山區南京東路3段101號4樓。營業內
容登記為所營事業資料管理顧問業、一般廣告服務業等等。
巧的是另一位邱瀚逸也於109年3月25日登記另一家經營範圍類似的「巧人有限公司」,資
本額也是1,000,000元,公司住址則是臺北市大安區仁愛路4段68號12樓之9。
這兩家公司的另一個共同特色之一,不管是網路或中華電信104查號台就是找不到其在雙
北地區的電話號碼,似乎是一家幽靈公司。
此外,Line行銷今年成為選戰最新武器。專攻網路社群、Line行銷的大橡科技有限公司,
今年就拿下了朝野候選人30筆經費,總金額高達16,685,143元,其中最大宗的就是蔡英文
陣營的15,297,164元。
今年就拿下了朝野候選人30筆經費,總金額高達16,685,143元,其中最大宗的就是蔡英文
陣營的15,297,164元。
5.完整新聞連結 (或短網址):
※ 當新聞連結過長時,需提供短網址方便網友點擊
https://newtalk.tw/news/view/2020-07-12/434555
專做小英大選生意? 「凡工」疑拿走2千7百萬經費 選後就關門 | 政治 | 新頭殼 Newtalk
2020年總統、立委競選經費日前公開,1家相當特殊的公司1年內拿走了蔡英文團隊2千7百萬宣傳支出,選後就關門,似乎也無登記電話號碼,相當令人矚目。2020年大選政治獻金10日公開上網。除了幫推、投石兩家跟蔡英文前幕僚關係深厚的公關公司拿下2千9百多萬元經費外,另一家業界很少人聽過,在政府公共工程採購 ...
![[圖]](https://s.newtalk.tw/album/news/435/5f0a9f6fd64b4.jpg)
6.備註:
※ 一個人一天只能張貼一則新聞,被刪或自刪也算額度內,超貼者水桶,請注意
※ 備註請勿張貼三日內新聞(包含連結、標題等)
找一個合板規的新聞
--
※ 發信站: 批踢踢實業坊(ptt.cc), 來自: 218.164.120.38 (臺灣)
※ 文章代碼(AID): #1V2hMbOJ (Gossiping)
※ 文章網址: https://www.ptt.cc/bbs/Gossiping/M.1594537381.A.613.html
※ 同主題文章:
● 07-12 15:02 ■ [新聞] 小英大選御用公司? 疑拿走2千7百萬經費 選後就關門
07-12 16:39 ■ Re: [新聞] 小英大選御用公司? 疑拿走2千7百萬經費
07-12 17:00 ■ Re: [新聞] 小英大選御用公司? 疑拿走2千7百萬經費
推 : =.= 卡神表示 :1F 07/12 15:03
→ : 等等這篇就洗掉了2F 07/12 15:03
推 : 蟑螂加班囉3F 07/12 15:03
→ : 蟑螂來無影 去無蹤 厲害!4F 07/12 15:03
推 : 蟑螂屋5F 07/12 15:03
推 : CC6F 07/12 15:03
推 : 經濟部:先改成密件,2025再解密7F 07/12 15:04
![[圖]](https://i.imgur.com/eX9qCs2.jpg)
→ : 不抓不行9F 07/12 15:04
推 : 蔡英文政績+110F 07/12 15:04
→ : 鄉民看見蟑螂 想拿拖鞋打的時候,蟑螂就不見了11F 07/12 15:04
推 : 新頭殼????????????????????????????????12F 07/12 15:04
推 : 時空背景不同啦13F 07/12 15:04
噓 : 這篇沒有呆丸價值14F 07/12 15:04
推 : 蟑螂真爽!難怪連人性都可以割棄!15F 07/12 15:05
推 : 蟑螂教母!16F 07/12 15:05
→ : 一案建商, 完工解散17F 07/12 15:05
推 : 這是推廣數位化 小菸政績+1 蟑螂屋居住正義+118F 07/12 15:05
推 : 馬的 大聲什麼啦 就算犯法 還可以特赦啊19F 07/12 15:05
推 : 開始洗文!20F 07/12 15:06
推 : 柯文哲不用出來負責嗎?21F 07/12 15:06
推 : 小英政績22F 07/12 15:06
→ : 以前國民黨balabala 所以沒事 呵呵呵23F 07/12 15:06
推 : 發大財24F 07/12 15:06
→ : 綠色網軍金流曝光 全部都解開了 不要在凹了25F 07/12 15:06
推 : https://i.imgur.com/I9JbjKj.jpg26F 07/12 15:06
推 : 蟑螂開虛了27F 07/12 15:06
推 : 推28F 07/12 15:06
推 : 新頭29F 07/12 15:06
推 : 柯說百萬還被綠粉嗆爆...百萬哪能帶風向.傻傻的XDD30F 07/12 15:06
推 : 開張吃四年,四年後就會再出現了。31F 07/12 15:07
→ : https://i.imgur.com/tYBcmoF.jpg32F 07/12 15:07
推 : 爽,早知道就申請入黨,沒肉吃至少也撈得到湯汁。33F 07/12 15:07
推 : 哇~ 發大財囉34F 07/12 15:07
→ : https://i.imgur.com/ICvDBfW.jpg35F 07/12 15:07
推 : $$$$$$36F 07/12 15:07
→ : 所以有犯法嗎? 怎麼柯粉又高潮了?!37F 07/12 15:07
→ : xianfen貼圖救台灣38F 07/12 15:07
推 : 選舉真是一門好生意39F 07/12 15:07
→ : 各種文宣.節目.跟油土伯合作..都是錢啊XD40F 07/12 15:07
推 : 所以說有人覺得台灣還有救我也是笑笑41F 07/12 15:07
推 : 推文小心42F 07/12 15:08
推 : 開始轉移焦點 網軍就是不肯正視問題43F 07/12 15:08
推 : 推,符合板規的新聞 科科44F 07/12 15:08
→ : 堵藍軍來洗垃圾圖囉45F 07/12 15:08
→ : 沒有救阿 因為柯粉太多了46F 07/12 15:08
→ : 不砸錢能做節目喔..柯只是講不出細目..畢竟只有蔡陣47F 07/12 15:08
噓 : 不然你要投國民黨喔48F 07/12 15:08
→ : 3000網軍害死外交官還沒犯法 真他媽丟人49F 07/12 15:08
→ : 堵藍永不缺席50F 07/12 15:08
→ : 垃圾蟑螂死全家51F 07/12 15:08
推 : 你各位破壞皇城惹52F 07/12 15:08
推 : 小英增加就業機會 促進經濟 政績+153F 07/12 15:08
→ : 營知道錢的流向..但那種規模..幾千萬都小兒科54F 07/12 15:08
推 : 新頭殼造反?55F 07/12 15:08
推 : 小英政績+156F 07/12 15:09
推 : 這邊不是都柯粉嗎 蟑螂在哪57F 07/12 15:09
推 : 推58F 07/12 15:09
推 : 2700萬 比想像中中少59F 07/12 15:09
推 : 沒事 放個無薪假而已 兩年後要選舉就會上班了60F 07/12 15:09
推 : 這就是台灣價值你敢嘴~~61F 07/12 15:09
→ : 約聘僱..網宣事業..還有一堆呢..趕緊入黨吧.羨慕XD62F 07/12 15:10
→ : 要選就生一家公司 選完馬上關 真是促進經濟 照顧員工63F 07/12 15:10
推 : 小粉綠加班囉64F 07/12 15:10
推 : 發大財65F 07/12 15:10
噓 : 要關門也要跟鄉民報告喔66F 07/12 15:10
推 : 堵爛仔繼續洗圖67F 07/12 15:10
推 : 阿北都沒有網軍 糖果好朋友假的68F 07/12 15:10
噓 : 有問題就報檢調,不用在那邊疑似,垃圾標題69F 07/12 15:10
推 : 台灣人真可悲 整天笑共匪內宣 結果果自己也一樣70F 07/12 15:10
→ : 愛台灣!!!!!71F 07/12 15:11
推 : 上面U大有說明這些網軍的來源72F 07/12 15:11
推 : 加入黨網選蟑螂部年收入千萬,還不快申請73F 07/12 15:11
推 : 新頭殼 是不是想造反阿 還是在爭寵74F 07/12 15:11
推 : 現在加入民進黨還來得及 站內信有賺員蟑螂為您服務75F 07/12 15:11
推 : 養蟑螂不用錢嗎?難不成餵廚餘就好嗎?76F 07/12 15:11
推 : 奇怪人家競選活動要交給誰辦干你屁事?哪裡犯法了?77F 07/12 15:12
推 : 台灣價值78F 07/12 15:12
推 : 候選人不能自己開公司選舉哦?79F 07/12 15:12
推 : xd80F 07/12 15:12
噓 : 疑疑疑疑疑疑 有問題快去告啊 疑三小81F 07/12 15:12
→ : 柯粉邏輯 -> 台灣和中國一樣82F 07/12 15:12
→ : 蟑螂全家死光光83F 07/12 15:12
推 : 選前八卦板綠到出汁84F 07/12 15:13
推 : 蟑螂屋 蟑螂的居住正義 小英政績+185F 07/12 15:13
推 : 難怪怎樣洗都打不死蟑螂,幾千萬的錢86F 07/12 15:13
推 : 追看看他是誰阿 是不是圖利阿87F 07/12 15:13
→ : 奇怪了 質疑不行喔 不然你去告造謠不會喔88F 07/12 15:13
推 : 別說八卦版是柯粉版拉..也曾經是小英版好嗎..每篇廢89F 07/12 15:13
推 : 絕對不止的啦,一定還有別的公關公司,綠色共產黨90F 07/12 15:14
→ : 綠網軍巢穴,被挖出來,蟑螂一下就鳥獸散91F 07/12 15:14
→ : 去告啊92F 07/12 15:14
噓 : 這種廣告費便宜啦,大驚小怪93F 07/12 15:14
→ : 文都能紅爆...至於現在為什不行了??疑?? 沒經費了?94F 07/12 15:14
推 : 相信黨95F 07/12 15:14
噓 : 疑三小 去告啊96F 07/12 15:14
→ : 競選文宣經費 給自己人很奇怪?難道綠的要請藍的做文 宣97F 07/12 15:14
推 : 爽98F 07/12 15:14
推 : 質疑的話,小心被用社維法起訴99F 07/12 15:14
→ : 有問題可以訴諸法律阿100F 07/12 15:14
→ : 講白了啦..2024八卦一定又變成賴清德版或鄭文燦版XD101F 07/12 15:15
推 : 蟑螂屋102F 07/12 15:15
→ : 政府標案都這樣,合約結束就關門,換個名稱再標103F 07/12 15:15
噓 : 「台北市」報導,一定是柯糞吃屎啦!(好想領1450)104F 07/12 15:15
[新聞]小英大選文宣重視新媒體 這家公司一年賺27 - Gossiping板 - Disp BBS
![[圖]]()
![[圖]]()
這篇新聞內容合乎規定,沒有業配沒有五毛杜撰內容 只因為原本的新聞沒有記者姓名,只有寫上調查中心 就被人用板規漏洞檢舉,我可能因此要被禁言14天 一個政治獻金流向的正常新聞就要這樣消失在PTT上啦 PT
![[圖]](http://i4.disp.cc/t/s2/tw.appledaily.com/815651827b4fbc016714aadbf88127de.jpg)
![[圖]](http://i4.disp.cc/t/s2/i.imgur.com/E4glmFhb.jpg)
![[圖]](http://i4.disp.cc/t/s2/i.imgur.com/e0stpbxb.jpg)
推 : 蟑螂年終獎金看這一波了106F 07/12 15:15
推 : 沒人在意。107F 07/12 15:15
推 : 疑疑疑?疑疑疑?我就愛疑呀108F 07/12 15:15
推 : 選後公司就解散,幾千萬經費是真的投入宣傳還是洗到109F 07/12 15:15
→ : 私人口袋?感覺不是正當公司。
→ : 私人口袋?感覺不是正當公司。
推 : 什麼公司會在1年經營業績是資本額的10倍情況下收掉。111F 07/12 15:16
推 : 林北不能疑嗎 有種去告造謠啊 不敢喔112F 07/12 15:16
→ : PTT是很好帶風向的..至理名言..丟錢請專業的XDD113F 07/12 15:16
→ : 這些金流有流到林昇慶公司 就PTT異常帳號那群阿 上面連結114F 07/12 15:16
Re: [新聞] 證據在這!楊蕙如網軍背後果然有「業主」 - 看板 Gossiping - 批踢踢實業坊
卡神其實安全下庄的可能性挺大的 而是就算罰錢,也罰不多。 她強調自己沒有對價關係,只是幫志同道合的人出飯錢,這些應該都是有人指點她的,讓她不容易自爆。 再來,從她前的新聞來看,她知道偵查時帶手機會被沒收,所以不帶手機,可以知道她可能設想過這些情況了。 「楊蕙如辯稱一開始不知道那篇文章是誰寫的,但看完覺得不錯,所以請大家幫推,事後「請理念相同的人吃飯」,完全否認付錢請網軍,雖然楊到案時沒有帶手機」
卡神其實安全下庄的可能性挺大的 而是就算罰錢,也罰不多。 她強調自己沒有對價關係,只是幫志同道合的人出飯錢,這些應該都是有人指點她的,讓她不容易自爆。 再來,從她前的新聞來看,她知道偵查時帶手機會被沒收,所以不帶手機,可以知道她可能設想過這些情況了。 「楊蕙如辯稱一開始不知道那篇文章是誰寫的,但看完覺得不錯,所以請大家幫推,事後「請理念相同的人吃飯」,完全否認付錢請網軍,雖然楊到案時沒有帶手機」
推 : C117F 07/12 15:17
推 : 還有人認為公關公司救了台灣咧118F 07/12 15:17
→ : 不然你要投kmt嗎?119F 07/12 15:17
推 : 身邊鐵綠粉還是深信小英沒網軍 是柯文哲養網軍 呵呵120F 07/12 15:18
推 : 選個總統這部份花兩千多萬算客氣了吧121F 07/12 15:18
推 : 1450得證122F 07/12 15:18
推 : 新頭殼不錯 肯報出來123F 07/12 15:18
推 : 推124F 07/12 15:18
推 : 正常啦..看敵對陣營都是網軍..就自家都不拿錢的志工125F 07/12 15:18
→ : 啤酒鴨是不是在這邊上班?126F 07/12 15:19
→ : 有問題的話 kmt 民眾黨會放過嗎?真可笑 只會帶風向127F 07/12 15:19
→ : 用你的覽叫想想...有可能嗎...沒出過社會的白痴喔XD128F 07/12 15:19
→ : 綠頭殼造反?????129F 07/12 15:19
→ : 這種新聞自由三立一定不會報130F 07/12 15:19
→ : ZZZ 別人都1450、網軍,你家就是義勇軍,果然柯學131F 07/12 15:20
推 : 某樓是....只是要你回達資金流向就叫別人提告,你堵藍132F 07/12 15:20
→ : 小編唷
→ : 小編唷
→ : 說有柯網軍能去抓啊..打個字在那嗆就算有了喔?XD134F 07/12 15:20
推 : 年輕人的最愛135F 07/12 15:20
→ : 我也沒講柯一定沒網軍啊..但綠粉舉不出讓人啞口無言136F 07/12 15:21
→ : 的證據是事實啊...跳針就算了喔??XD
→ : 的證據是事實啊...跳針就算了喔??XD
推 : 要接活動就得要開支票 開個任務型打選戰的公司 有什138F 07/12 15:21
→ : 麼好奇怪的? 選完全解散不養人啊
→ : 麼好奇怪的? 選完全解散不養人啊
→ : 才花兩千多萬...這太節儉了吧140F 07/12 15:21
推 : 樓下zold準備供出柯網軍名單 大家小心141F 07/12 15:21
推 : 肯定不是某派系的公司才會被爆出來142F 07/12 15:22
→ : 是阿~白色好朋友不是網軍嘛~是義勇軍嘛~~143F 07/12 15:22
推 : 看來這篇不會被刪了144F 07/12 15:22
→ : 選舉四年一次 難道要人家公司放著睡三年...145F 07/12 15:22
推 : 蟑螂窩?146F 07/12 15:22
→ : 義勇軍一大堆~然後高雄CF的活動人數比選里長還慘~要開會147F 07/12 15:22
→ : kterry01 你知道五毛這名字怎麼來的嗎? 照你的邏輯 會罵五毛148F 07/12 15:22
→ : 白色好朋友?..去把他們的資金鏈.對價掀出來啊..149F 07/12 15:22
→ : 的人全部都是網軍了150F 07/12 15:23
→ : 空殼公司洗錢 好爽151F 07/12 15:23
→ : 然後還湊不到人數得在那告急,阿八卦的義勇軍死哪去了?152F 07/12 15:23
推 : 公務預算拿去做個人的包裝宣傳更不知多少153F 07/12 15:23
噓 : 三民自平衡報導一下154F 07/12 15:23
推 : 五毛來源是對岸收五毛論件計費的網軍 用在綠色蟑螂比較155F 07/12 15:23
噓 : 很重要嗎?某版正在監督柯文哲與民眾黨,那才是真實民156F 07/12 15:24
推 : 爽啦!157F 07/12 15:24
→ : 我管五毛怎樣?我只知道柯粉整天推一堆鳥文推到爆,然後158F 07/12 15:24
推 : 洨英真的很照顧年輕人阿,一年就賺上千萬159F 07/12 15:24
→ : 合 畢竟都被證實有收錢辦事的160F 07/12 15:24
→ : 台北惡棍八成也是花錢買的161F 07/12 15:24
→ : 柯講個百萬還被嗆栽贓抹黑XDD 太瞧不起DPP了拉162F 07/12 15:24
→ : TPP的選舉經費收支都有附明細 菸狼麻糞快去查阿163F 07/12 15:24
→ : 你家CF的民調廢到笑,還整天要講幹話就好了164F 07/12 15:24
推 : 柯網軍也不是一天兩天的事 只是我苦無證據165F 07/12 15:24
推 : 政策智障我全罵 但現在是dpp執政所以我就變柯韓粉了166F 07/12 15:24
→ : 所以八卦柯粉義勇軍要不要去幫CF湊人數啊?不夠捏167F 07/12 15:24
→ : 現在政黑版根本柯黑綠粉版...整天在洗版幹柯的XD168F 07/12 15:25
推 : 難怪真多綠蟑螂169F 07/12 15:25
推 : 民進黨發大財,能撈就撈170F 07/12 15:25
推 : 蛤 小英養網軍 讓我們先來檢討柯文哲171F 07/12 15:25
→ : 哪來這麼多義勇軍XD 罵罵DPP就被歸類在柯粉了喔172F 07/12 15:25
推 : 呵 蟑螂又在洗了173F 07/12 15:25
→ : 老實說柯如果就此退出政壇我也只會覺得可惜而已啦 反正174F 07/12 15:25
推 : 幫高調175F 07/12 15:25
![[圖]](https://i.imgur.com/h6tlTEb.jpg)
推 : 很好奇堵藍是那家公司的??177F 07/12 15:25
推 : 選前洗完風向拍拍屁股就跑掉178F 07/12 15:25
→ : 重點還是可以看DPP下限有多噁心而已179F 07/12 15:26
推 : 這找個專業的會計師就知道在搞什麼黑玩意180F 07/12 15:26
→ : 不就跟八卦柯粉板一樣?我義勇軍我驕傲?八卦推到爆,現實181F 07/12 15:26
推 : 讓我們繼續檢討柯文哲182F 07/12 15:26
→ : 看來最會養網紅的就是這個人183F 07/12 15:26
→ : 廢到笑。184F 07/12 15:26
→ : 妳各位啊...監督DPP就是柯粉..就是反指標..我好怕XD185F 07/12 15:27
推 : 高調186F 07/12 15:27
→ : 堵藍跟惡棍也是這種空殼公司吧 反正後路都想好了187F 07/12 15:27
→ : 笑死人了 別人抓網軍跟柯P有何關連? kterry01 的意思是說ptt188F 07/12 15:27
推 : 有夠離譜189F 07/12 15:27
噓 : 這又不是國庫的錢本來就隨便人家用的190F 07/12 15:27
推 : 台灣價值 合理191F 07/12 15:27
推 : 網軍發大財!!!192F 07/12 15:27
推 : 綠蟑螂噁心193F 07/12 15:28
→ : 怎麼樣都燒不到那兩隻母豬194F 07/12 15:28
推 : 拿人民的錢洗人民的腦195F 07/12 15:28
噓 : 監督民進黨的一看就知道都是共匪,中共同路人滾啦196F 07/12 15:28
推 : 守護台灣拿那麼多 合理阿197F 07/12 15:28
→ : 政治獻金是有法律的 不是你想怎麼用就怎麼用198F 07/12 15:28
→ : 抓了近三千個綠蟑螂 那PTT版務肯定是可恥柯糞囉?199F 07/12 15:28
推 : 為了守護台灣這點小錢值得啦200F 07/12 15:28
→ : 沒錯,抓綠蟑螂的還說自己不是柯糞?一定是啊,因為反民進黨201F 07/12 15:28
推 : 綠共操控輿論風向的能力不下紅共202F 07/12 15:29
推 : 洗風向+1,八卦被搞臭,低卡被洗腦203F 07/12 15:29
→ : 反對民進黨的人一定不愛台灣,而且是分化台灣團結勢力應該殲滅204F 07/12 15:29
→ : 哈哈..八卦都白網軍.然後都沒被抓..綠粉是在暗示PTT205F 07/12 15:29
推 : 覺得不爽的麻煩趕快滾出台灣206F 07/12 15:30
→ : kterry01 既然發現這麼重大的秘密 怎麼不快點去開記者會?207F 07/12 15:30
→ : 繼續投藍綠啊 https://imgur.com/YLmcbX1.jpg208F 07/12 15:30
→ : 高層都是白的??? 這邏輯真的蠻奇葩的XD209F 07/12 15:30
推 : 低品護黨吱髒可憐哪210F 07/12 15:30
推 : 正直善良回來了211F 07/12 15:30
推 : [url=https://imgur.com/vL3ULMB]https://i.imgur.com/vL3ULMB.jpg[/url] 嘻嘻212F 07/12 15:30
→ : 廢到笑的柯粉有什麼好開記者會的?妳們就整天推爆廢文,213F 07/12 15:31
→ : 然後你家CF民調繼續探底啊?有啥好開?
→ : 然後你家CF民調繼續探底啊?有啥好開?
推 : 新頭殼造反?215F 07/12 15:31
→ : 民進黨網軍垃圾1450216F 07/12 15:31
推 : 原來是花大錢養網軍喔,呵呵217F 07/12 15:31
推 : 快告阿,沒告的是王八蛋218F 07/12 15:31
→ : 人家DPP現在正在各種吃肉喝湯呢..沒分到一杯羹的就219F 07/12 15:31
推 : 這是富有台灣價值的兩千萬 再追查的人都是柯韓粉220F 07/12 15:32
→ : 2022辭黨主席為選舉不利負責,2024慘敗到台東行醫,讚阿221F 07/12 15:32
推 : 蟑螂屋嗎222F 07/12 15:32
推 : 人民的納稅錢拿來幫小菸行銷宣傳223F 07/12 15:32
→ : 少浪費力氣護航了..有夠蠢的XD224F 07/12 15:32
推 : 噁心225F 07/12 15:32
推 : 蟑螂的飼料錢226F 07/12 15:32
→ : https://i.imgur.com/eW5Jtpw.jpg227F 07/12 15:33
→ : 而且這篇明明就在講菜有砸錢..然後有人一直瘋狂痛罵228F 07/12 15:33
推 : 笑死 不告是笨蛋 不告是小狗都沒動靜了229F 07/12 15:33
→ : 柯P...坦王真不是當假的XDD230F 07/12 15:33
噓 : 疑=沒有?等確認有再來報,不要讓大家猜猜樂…231F 07/12 15:34
推 : 韓導2.0政績-1232F 07/12 15:34
推 : 新頭殼造反?233F 07/12 15:34
推 : 黑柯重要性大於愛台灣啦234F 07/12 15:35
推 : 是不是有些人被抹中共同路人不爽了235F 07/12 15:35
→ : 某智庫的造反啦?
→ : 某智庫的造反啦?
推 : 笑死,蟑螂急著找柯維拉上場囉237F 07/12 15:35
→ : 只能說不意外,選前當時,ptt大量製圖洗板,撰文洗238F 07/12 15:35
→ : [url=https://imgur.com/bb5LVLr]https://i.imgur.com/bb5LVLr.jpg[/url]239F 07/12 15:35
![[圖]](https://i.imgur.com/bb5LVLr.jpg)
推 : 這一定要抓,媽的幾千萬就綁架網路輿論風向。240F 07/12 15:36
→ : 腦冥進黨是如何愛台灣,帶帶風向,不過就總統候選人241F 07/12 15:36
→ : [url=https://imgur.com/WoMAmtp]https://i.imgur.com/WoMAmtp.jpg[/url]242F 07/12 15:36
![[圖]](https://i.imgur.com/WoMAmtp.jpg)
→ : ,當時投小英還是可以接受的,因為韓實在令人無法苟243F 07/12 15:36
推 : 綠畜蟑螂假日還要加班 可憐哪244F 07/12 15:36
→ : 同...245F 07/12 15:36
推 : 嗚嗚嗚嗚 菸粉崩潰246F 07/12 15:36
推 : 台灣價值247F 07/12 15:36
推 : 投小菸可接受?這時候的正解應該是不投任何人248F 07/12 15:36
→ : 只要你想自己的選舉補助款也被拿去養蟑螂這樣還投的下
→ : 只要你想自己的選舉補助款也被拿去養蟑螂這樣還投的下
推 : 難怪一堆蟑螂250F 07/12 15:37
推 : 猜測這應該是類似網軍的吧,由此證明現在真的沒有網軍阿XD251F 07/12 15:37
推 : 蟑螂最近還不是出現了?252F 07/12 15:37
→ : 去那可能要檢查一下自己是不是M253F 07/12 15:37
推 : [url=https://imgur.com/9kcBwrF]https://i.imgur.com/9kcBwrF.jpg[/url]254F 07/12 15:37
![[圖]](https://i.imgur.com/9kcBwrFh.jpg)
→ : [url=https://imgur.com/OsgIKhD]https://i.imgur.com/OsgIKhD.png[/url]255F 07/12 15:38
![[圖]](https://i.imgur.com/OsgIKhD.png)
→ : 堵藍貼圖仔一看就知道收錢辦事的256F 07/12 15:38
→ : 以後直接轉約聘 之後變正規軍257F 07/12 15:38
推 : 真爽258F 07/12 15:39
推 : 在台北市 請柯師父出來負責259F 07/12 15:39
推 : 洗錢?260F 07/12 15:39
推 : 怎麼領這麼少... 這樣加入民進黨還是低薪一族261F 07/12 15:40
推 : 蟑螂真噁心262F 07/12 15:40
推 : 呵呵263F 07/12 15:40
推 : 不關難道放著讓你查嗎?264F 07/12 15:40
推 : 嘎爪烏?265F 07/12 15:40
推 : 協尋刮吉266F 07/12 15:40
推 : 最後的錢也不知道流到誰的口袋裡了267F 07/12 15:41
推 : 肏你媽的柯文哲開的公司吧 給我出來說明哦!268F 07/12 15:41
推 : 網軍不稀奇 網路雇傭兵出現 難怪政府要幫忙爭取到正職福利269F 07/12 15:42
噓 : 柯糞別鬧了好嗎?真的要打這個?270F 07/12 15:42
推 : 厲害了英帝 習主席的接班人。大內宣最會271F 07/12 15:42
推 : 拿台灣人的錢養爸爸有錯嗎272F 07/12 15:44
推 : 呱吉大概在想怎麼幫蔡英文把網軍風向帶到柯文哲273F 07/12 15:45
推 : 台灣價值棒棒274F 07/12 15:45
推 : 哇靠16,685,143 蔡英文就佔15,297,164275F 07/12 15:45
![[圖]](https://i.imgur.com/ps5O1sXh.jpg)
推 : 垃圾蟑螂 全家死光277F 07/12 15:45
噓 : 拿民進黨的自己政治獻金去做網路行銷,哪裡犯法?278F 07/12 15:46
→ : 柯說網紅收100搞不好還低估了279F 07/12 15:46
→ : 幫推 投石呢?280F 07/12 15:46
→ : 屎漏呢?
→ : 屎漏呢?
推 : 垃圾蟑螂又出來了,有請網軍就大聲講出來啊282F 07/12 15:47
推 : 對阿 企業財團從政府手裡拿到納稅錢再捐錢給黨 超棒的283F 07/12 15:47
噓 : 誰沒買公關?北七284F 07/12 15:47
→ : 在那邊我就合法不然你去檢舉實在笑死人285F 07/12 15:47
推 : 這就是台灣價值拉286F 07/12 15:48
推 : 817要用查無不法之術了嗎287F 07/12 15:48
推 : 用網軍搞爛PTT然後嗆我一切合法還真有臉288F 07/12 15:48
推 : 蟑螂可怕289F 07/12 15:49
→ : 被圈養的家畜們對於強灌的言論津津有味290F 07/12 15:49
→ : 還到處嚷嚷著我們有選擇的自由
→ : 還到處嚷嚷著我們有選擇的自由
推 : 錢沾都幫你加碼了 捐點錢給黨養網軍也是應該的好嗎292F 07/12 15:50
→ : 藏富於民,好厲害293F 07/12 15:50
推 : 爵卿笑中國外宣 妥協自己內宣QQ294F 07/12 15:50
→ : 新頭殼造反?295F 07/12 15:50
噓 : adios cucaracha296F 07/12 15:51
噓 : 每家都有經營網路 柯韓糞又在高潮了297F 07/12 15:51
推 : 新頭殼怎會報這新聞@@298F 07/12 15:52
推 : 推299F 07/12 15:52
推 : 更可笑的是還有低能兒在幫護航打政敵300F 07/12 15:52
推 : 菸佛粉有像蟑螂領到錢嗎,真廢301F 07/12 15:52
推 : 蟑螂急了,這種下三濫的買風向方式其他人真的學不來302F 07/12 15:52
推 : 菸佛粉無視三千英靈殿 猛K找不到的柯P網軍 笑死303F 07/12 15:52
推 : 菸粉:這是建國基金啦!我大菸黨的傳統,五毛懂什麼304F 07/12 15:52
推 : 每家都有菸佛韓糞廠公綠共蟑螂賤狗趕快找出來305F 07/12 15:53
→ : 收多少錢啊 不要只會吃屎吃完屎自肛
→ : 收多少錢啊 不要只會吃屎吃完屎自肛
推 : 新頭殼發現自己在做義工不爽吧307F 07/12 15:54
推 : 快補血,不然會被洗下去。308F 07/12 15:54
→ : (づ′・ω・)づ民調最高,台灣人就愛,科含糞繼續哭哭啊309F 07/12 15:54
噓 : 支持小英提告,小英怎麼可能有御用公司310F 07/12 15:55
推 : 選前又開了311F 07/12 15:55
推 : 有差嗎 蟑螂爽賺版上菸粉還是只能爽舔 嘻嘻312F 07/12 15:55
→ : 法院必會還給小英一個公道313F 07/12 15:55
推 : 這篇早晚會被噓下去吧314F 07/12 15:55
推 : 國民黨也貪污 這是歷史共業 時空北京不同315F 07/12 15:56
推 : 這時候開始打這個 中共要做什麼?316F 07/12 15:56
推 : 所以違法的點在哪裡?我看不出來啊。高潮啥?317F 07/12 15:57
推 : 2700萬真好賺耶 難怪蟑螂都說現在房價很便宜318F 07/12 15:58
→ : 錢根本兜不起來 用1450去除再除天數 不合裡@@319F 07/12 15:58
推 : 儲值囉320F 07/12 15:59
推 : 蔡英文民進黨所有走狗真的好噁爛321F 07/12 15:59
推 : 不意外 政治就是那麼廢322F 07/12 16:00
推 : 央粉絕招:大家都有一樣啊 幹嘛罵人323F 07/12 16:00
推 : 發大財324F 07/12 16:00
推 : 蟑螂啊蟑螂..你們賺很多欸325F 07/12 16:01
推 : 新頭殼不是很綠嗎 造反了326F 07/12 16:01
推 : 不就公關公司327F 07/12 16:02
噓 : 9.25毛高潮啦328F 07/12 16:02
→ : 不然選舉時哪裡宣傳 洗文329F 07/12 16:02
推 : 1450破腦蟑螂 全家死光 舒服330F 07/12 16:04
→ : 垃圾辣母豬331F 07/12 16:04
推 : 用民進黨的錢給民進黨御用公司,所以蚵粉洗這篇自嗨的332F 07/12 16:04
→ : 點是?
→ : 點是?
推 : 下次絕對讓民進黨下去334F 07/12 16:04
推 : 推335F 07/12 16:05
推 : 推336F 07/12 16:05
→ : 化整為零下次選舉再開呀,還不用付勞健保337F 07/12 16:05
噓 : 新頭殼造反?338F 07/12 16:05
噓 : 標題加疑或問號,真的好專業339F 07/12 16:05
推 : 網軍幽靈公司來囉340F 07/12 16:06
推 : 趕快入黨吧,現在也許還有點湯能喝,再不入就只能當韮341F 07/12 16:06
→ : 菜了
→ : 菜了
推 : 蟑螂:選完了,你們被騙也沒得反悔了,嘻嘻343F 07/12 16:07
噓 : 韓陣營付2.3億344F 07/12 16:07
推 : 民進黨御用公司是...網軍? 講話用點腦子思考一下好嗎345F 07/12 16:08
推 : !346F 07/12 16:08
推 : 阿扁蠢到要被關 可憐啊347F 07/12 16:08
推 : 蚵粉洗爆ㄧ篇意義不明的文,TMD假如要請公關公司做網軍348F 07/12 16:09
→ : ,也找腦袋清楚的呀,整天一堆蚵粉洗些莫名奇妙的東西
→ : ,民調越洗越低
→ : ,也找腦袋清楚的呀,整天一堆蚵粉洗些莫名奇妙的東西
→ : ,民調越洗越低
推 : XDDD 你腦子才不清楚吧 你是在幫民進黨奠定有網軍的事351F 07/12 16:10
→ : 實喔?? 靠杯 笑死
→ : 實喔?? 靠杯 笑死
推 : 綠圾真的是台灣最垃圾無恥雙標愛潑糞造謠抹黑的顏色353F 07/12 16:10
推 : 有817萬人覺得沒問題354F 07/12 16:11
推 : 蚵粉的幻想小劇場正常人很難理解呢~355F 07/12 16:11
→ : 沒有幻想啊你自己講的 不要說別人幻想好嗎可憐356F 07/12 16:11
推 : 不要在講1450了 真的是看蟑螂沒有欸357F 07/12 16:12
噓 : 拜託有任何問題請去按鈴申告 少在那帶風向358F 07/12 16:12
→ : 這不叫藏富於民什麼叫藏富於民359F 07/12 16:12
推 : 政治蟑螂360F 07/12 16:12
推 : 政治蟑螂$361F 07/12 16:12
推 : 菸佛糞認證的網軍XDDDDDD362F 07/12 16:12
→ : 綠色夢想家363F 07/12 16:12
噓 : 疑疑疑?364F 07/12 16:13
推 : 新頭殼要反抗一下 不然公關蟑螂遲早把黨媒工作搶光..365F 07/12 16:13
推 : 幫高調366F 07/12 16:13
推 : 一案蟑螂 開蟑聖母表示這是建廟基金啦367F 07/12 16:13
→ : 開玩笑 兩千多萬 給傳統媒體多好用阿 給公關出蟑螂做啥XD368F 07/12 16:14
推 : 吃相難看,還敢批評柯韓369F 07/12 16:15
→ : 這種特殊目的的公司全世界一堆370F 07/12 16:15
推 : 推文裡面有好多受惠這筆錢的,都急了呢371F 07/12 16:15
推 : 難怪蟑螂這麼多372F 07/12 16:16
推 : 台灣價值373F 07/12 16:17
噓 : 老闆先每個月拿1450*30來養再說374F 07/12 16:18
推 : 新頭殼自爆? XD375F 07/12 16:19
推 : 消失?到處都是啊還消失哩呵呵376F 07/12 16:19
推 : 難怪製圖都有一定水準,某些ID超愛用的377F 07/12 16:19
→ : 蟑螂又不是免錢的,管小英怎麼用,吃飽太閒嗎378F 07/12 16:19
→ : 還是怕自己被外包?379F 07/12 16:19
推 : 小煙政績+1380F 07/12 16:19
推 : 拿髒錢的,必下地獄,381F 07/12 16:20
推 : 垃圾不分藍綠382F 07/12 16:20
推 : 有認識的公關公司就這麼爽賺383F 07/12 16:20
噓 : 政治獻金怎麼花也有意見 顆顆384F 07/12 16:20
→ : 不過新頭殼這是在眼紅待遇差別嗎?385F 07/12 16:20
推 : 幫高調386F 07/12 16:21
推 : 養蟑螂387F 07/12 16:21
推 : 中時不意外.....新頭殼?!388F 07/12 16:21
推 : 阿就怪鄉民好操弄啊389F 07/12 16:21
噓 : 還好吧,國民黨民眾黨也可以做呀,傻到被這些公關公司帶390F 07/12 16:21
→ : 風向被騙,這些人才是蠢
→ : 風向被騙,這些人才是蠢
推 : 蟑螂也要生活啊392F 07/12 16:22
推 : 推推推~想看後續XD393F 07/12 16:22
推 : 政黑的智障吃屎柯黑都消失啦 你跟我說民進黨沒網軍?394F 07/12 16:23
→ : XD
→ : XD
→ : 歐呦 新頭殼造反啦396F 07/12 16:25
→ : 蟑螂出來玩397F 07/12 16:25
推 : 這篇台灣價值不足398F 07/12 16:25
推 : 蟑螂經濟學 選舉發大財399F 07/12 16:25
![[圖]](https://i.imgur.com/TJ46SI7.png)
推 : 經濟20年來最好 讚讚401F 07/12 16:25
→ : 親自認證402F 07/12 16:25
推 : 政黑菸粉不知道是哪一家的 特別低能403F 07/12 16:26
推 : 綠共不意外404F 07/12 16:26
推 : 菸粉拿道德罵柯,對蔡皇又拿法律護蔡,有沒有這麼雙重標準405F 07/12 16:28
→ : ?
→ : ?
→ : 蔡總統空軍就是強407F 07/12 16:28
推 : 選完了啦 票都騙到了 who cares408F 07/12 16:28
推 : 所以這家辦很爛讓蔡落選嗎@@"409F 07/12 16:28
推 : 為啥小英的新聞,底下都其它人的圖?410F 07/12 16:29
→ : 柯講百萬的時候怎不跳出來說也沒犯法411F 07/12 16:29
→ : 蘇院長:不是網軍是小編412F 07/12 16:29
→ : 台灣價值不能嘴阿413F 07/12 16:33
推 : 想到之前蔡英文FB文都秒爆的盛況,嗯嗯414F 07/12 16:34
推 : 蟑螂窩太多啦415F 07/12 16:34
推 : 蟑螂快來噓啊XD416F 07/12 16:34
→ : 難怪支持垃圾綠的蟑螂那麼多,好賺啊417F 07/12 16:34
推 : 你中共同路人?不然你要選國民黨?看民進黨吃台灣人418F 07/12 16:34
→ : 錢就是爽
→ : 錢就是爽
噓 : 新頭殼造反嗎…420F 07/12 16:35
推 : 誰叫年輕人整天上網不看電視新聞,只好養網軍騙阿421F 07/12 16:35
推 : 但我們還是要投其邁 因為一定是柯p的問題422F 07/12 16:35
→ : 蟑螂窩423F 07/12 16:36
推 : 反正之後就不報了,跟大麻那個一樣424F 07/12 16:36
![[圖]](https://i.imgur.com/qBcH6At.png)
推 : 是不是該查一下426F 07/12 16:36
推 : 綠共養網軍也是柯粉的錯,柯粉真萬用427F 07/12 16:37
![[圖]](https://i.imgur.com/luZ0Zc1h.jpg)
推 : 菸黨縣市長被大敗後菸蒂fb文每天被蟑螂推爆,笑死了429F 07/12 16:38
推 : 台灣價值430F 07/12 16:38
推 : 選舉打廣告也沒違法 菸粉繼續吃蟑螂屎431F 07/12 16:39
推 : 睜眼說瞎話的輸真慘,整天造詣抹黑還提供正確訊息喔432F 07/12 16:39
推 : 不可質疑的臺灣價值!!433F 07/12 16:40
推 : 嚼青側翼蟑螂網軍吃屎製圖小組 上班囉434F 07/12 16:40
推 : 以前還常投菸黨,自從養了囂張的網軍後以後一票不投435F 07/12 16:40
推 : 有了台灣價值,蟑螂屋也可以價值2700萬436F 07/12 16:40
推 : 2700只是其中一家公關公司 還有更多的幾千萬 這蟑螂飼料437F 07/12 16:41
推 : 養蟑螂用的438F 07/12 16:41
→ : 費有夠高的439F 07/12 16:41
→ : 整篇都是問號,現在的新聞怎麼了?440F 07/12 16:41
推 : 蟑螂公司吧441F 07/12 16:41
推 : 呼叫瓜吉,說句話啊442F 07/12 16:42
→ : 菸糞智障整天喊柯網軍 拿出經費明細啊 抹黑都不會羞愧喔443F 07/12 16:42
→ : ? 垃圾
→ : ? 垃圾
推 : 你菸黨做事如果符合人民的期待,還需要養網軍嗎,反正445F 07/12 16:42
推 : 我菸黨就是爛,但是我把別人抹得更爛,還是選的上阿。
推 : 我菸黨就是爛,但是我把別人抹得更爛,還是選的上阿。
推 : 難怪菸糞數量大減447F 07/12 16:43
噓 : 綠營的都蟑螂;其他顏色的都義勇軍啦448F 07/12 16:43
推 : 可以強先報名2024嗎449F 07/12 16:44
推 : 菸粉再說沒蟑螂啊,你們他媽的比柯文哲、國民黨更噁心450F 07/12 16:45
![[圖]](https://i.imgur.com/3kdm3y7.jpg)
→ bmchaos …
推 : 網軍當然要化明為暗啊 不然等著讓你們去查喔453F 07/12 16:46
推 : 人一綠 腦就殘454F 07/12 16:46
噓 : 藍綠一樣..455F 07/12 16:47
推 : 蟑螂教母456F 07/12 16:47
→ : 覺得非法就去告啊 很難嗎?457F 07/12 16:47
→ : 任務完成快毀屍滅跡458F 07/12 16:47
推 : 有問題459F 07/12 16:47
推 : 洗460F 07/12 16:48
推 : 關門了 所以現在全是民眾黨的網軍 這邏輯 (笑461F 07/12 16:48
推 : 新頭殼反了反了462F 07/12 16:48
推 : 笑死了 沒有一百萬 是很多條加總超過千萬463F 07/12 16:49
推 : [url=https://imgur.com/hEaFUmR]https://i.imgur.com/hEaFUmR.jpg[/url]464F 07/12 16:49
![[圖]](https://i.imgur.com/hEaFUmRh.jpg)
推 : 幫低調465F 07/12 16:49
→ : 綠五毛466F 07/12 16:49
噓 : 怎麼可能467F 07/12 16:49
→ : [url=https://imgur.com/kbNnuro]https://i.imgur.com/kbNnuro.jpg[/url]468F 07/12 16:49
![[圖]](https://i.imgur.com/kbNnuroh.jpg)
推 : 拿好拿滿?469F 07/12 16:51
推 : 不是蟑螂沒良心,是柯黑沒良心!470F 07/12 16:52
推 : 唉唉471F 07/12 16:52
推 : 呵呵472F 07/12 16:52
推 : 說要告的,可以先說要告那一條好嗎?妨礙蟑螂轉錢罪嗎473F 07/12 16:52
→ : ?
→ : ?
推 : 我們政府很有錢475F 07/12 16:53
推 : 呆丸人都被風向帶呆了476F 07/12 16:53
推 : 綠蟑看了這篇還有膽跟別人說網軍?477F 07/12 16:53
推 : 噁心478F 07/12 16:53
推 : 真少479F 07/12 16:54
推 : 綠蟑螂嘻嘻480F 07/12 16:54
→ : 人民跟股市散戶一樣 笑對岸韭菜 殊不知....QQ481F 07/12 16:55
推 : [url=https://imgur.com/rqc1vJk]https://i.imgur.com/rqc1vJk.jpg[/url]482F 07/12 16:55
![[圖]](https://i.imgur.com/rqc1vJkh.jpg)
→ : 值得啊 不然要讓智障韓當總統嗎483F 07/12 16:56
推 : 這有洗錢疑慮吧 調查局該查一下了吧484F 07/12 16:56
推 : 黑名單id果然出現在前面推文 整天守在八卦版485F 07/12 16:56
噓 : 這種風向新聞也在跟推的好有智商喔,列車啟動486F 07/12 16:57
→ : 比高雄還多?!487F 07/12 16:57
推 : 整天說ptt反指標,綠畜賤蟑還是整天守著八卦版w488F 07/12 16:57
推 : 超拿而已啦489F 07/12 16:57
推 : 這文就討安慰文,菸黨快去安慰一下,別都找公關蟑螂 綠媒也要490F 07/12 16:57
推 : 抓到491F 07/12 16:58
推 : 國民黨還不打,幹你娘死智障492F 07/12 16:58
噓 : 怎麼可能才拿2千7百萬,一定有誤會493F 07/12 16:58
推 : 超越1450494F 07/12 16:58
→ : 好像他家開蟑聖母要出殯整天守靈一樣495F 07/12 16:58
推 : 階段性任務結束就關門啊 科科496F 07/12 16:58
推 : 台灣真的越來越沒救,垃圾DPP497F 07/12 16:59
推 : 要被洗屌掉了498F 07/12 16:59
推 : 被抓到的不是都D黨為主嗎?499F 07/12 17:00
→ : 台派賤畜已經這幾天開始狂洗民眾黨的新聞了啊 超明顯的500F 07/12 17:00
推 : 新頭殼造反了?501F 07/12 17:00
推 : 民進黨錢沒白花 看推文貼多少拉kp救援502F 07/12 17:01
推 : 2700萬養一堆蟑螂 可憐柯沒錢養網軍一直被綠畜抹屎503F 07/12 17:01
噓 : 噁心 現在知道不該罷掉韓倒了吧 現在還會緬懷韓倒的是什504F 07/12 17:01
推 : 民進黨萬歲 小英萬歲505F 07/12 17:01
→ : 麼貨色屁眼想也知道506F 07/12 17:01
推 : 奇兵507F 07/12 17:02
推 : 真會508F 07/12 17:03
推 : 關門再改名新公司,難道笨笨被查509F 07/12 17:04
推 : 這黨真的很棒510F 07/12 17:04
推 : 合法標案的事 能算分贓嗎?511F 07/12 17:04
推 : 選舉真是門好生意512F 07/12 17:04
→ : 蟑螂經費來源...513F 07/12 17:05
![[圖]](https://i.imgur.com/GiabBto.jpg)
推 : 大撒幣囉 蟑螂噓起來515F 07/12 17:06
推 : 幫高調516F 07/12 17:06
推 : 台灣價值 懂?☺517F 07/12 17:06
噓 : 可以原諒的顏色518F 07/12 17:07
噓 : 綠畜就是專門養蟑螂洗腦 難怪一大堆低能817519F 07/12 17:08
推 : 民進黨不意外520F 07/12 17:09
推 : 高調521F 07/12 17:09
推 : 噁心522F 07/12 17:09
推 : 哈哈哈 蟑螂來囉523F 07/12 17:11
推 : 沒差啦 趕快找柯來護就好了524F 07/12 17:11
推 : 台灣價值真好525F 07/12 17:14
推 : 扯526F 07/12 17:14
推 : 台灣價值就是這麼超值527F 07/12 17:15
推 : 台灣價值528F 07/12 17:15
噓 : 817傻傻幫人抬轎529F 07/12 17:16
噓 : 要不要查查看TMD跟KMT的公關公司拿多少錢?530F 07/12 17:16
推 : 看一下蔡英文資產好嗎?2700萬是啥小531F 07/12 17:17
推 : 呵呵532F 07/12 17:18
推 : 817的選擇533F 07/12 17:18
噓 : 這篇在談DPP 就是有人會扯其他政黨 真的很蠢534F 07/12 17:22
推 : 蟑螂看不到535F 07/12 17:23
推 : 新頭殼沒拿到造反了?536F 07/12 17:24
推 : 有臺灣價值真好537F 07/12 17:24
推 : 好刺激XDDD538F 07/12 17:24
推 : 新頭殼是那根筋不對造反噢哈哈哈539F 07/12 17:26
推 : 台灣價值540F 07/12 17:27
推 : 肥水不落外人田。大概又什關係拿到案子541F 07/12 17:28
→ : 說有違法嗎?
→ : 說有違法嗎?
推 : 看到這種推文就想笑”噓 chiguang : 要不要查查看TMD543F 07/12 17:28
→ : 跟KMT的公關公司拿多少錢?”
→ : 跟KMT的公關公司拿多少錢?”
噓 : 民進黨的錢你管人家怎麼花?545F 07/12 17:29
推 : 守護台灣本來就要花錢546F 07/12 17:32
推 : 笑死,我家英文很乖~一定是別人帶壞她的547F 07/12 17:35
→ : 有領錢的快來噓548F 07/12 17:35
噓 : 競選團隊,這個有什麼問題549F 07/12 17:36
推 : 感謝樓上示範550F 07/12 17:38
推 : 難怪監察院要換成自己人,一直爆出這種事還得了551F 07/12 17:38
推 : 難怪蟑螂殺不完= =552F 07/12 17:41
→ : 任務型的統包. 又不是公單位....乖乖繳稅 開發票、收據553F 07/12 17:41
推 : 蟑螂母 噁心554F 07/12 17:42
推 : 鶴明好棒555F 07/12 17:42
推 : 領錢的趕快來噓喔556F 07/12 17:43
推 : 領錢辦事沒錢關門哪裡錯了557F 07/12 17:44
推 : 笑死,蟑螂屋558F 07/12 17:44
推 : 英粉:我們就是贏了,有什麼問題嗎?嗯?559F 07/12 17:45
→ : 網軍去死560F 07/12 17:46
推 : 有就有沒有就沒有 為什麼新聞標題都很喜歡用疑恐之類的字561F 07/12 17:47
![[圖]](https://i.imgur.com/ARBbbZdh.jpg)
→ : 人家競選給私人公司標案 是有花到公家一毛錢啊?563F 07/12 17:53
→ : 拿錢有辦事 也選上了 對得起捐款的人 有什麼問題
→ : 拿錢有辦事 也選上了 對得起捐款的人 有什麼問題
推 : 酸民真滴好笑,小英又不是拿稅金去花,關你屁事?565F 07/12 17:55
推 : 推566F 07/12 17:57
→ : 不易外567F 07/12 17:57
噓 : 所以這有什麼問題?568F 07/12 18:00
→ MoWilliams …
推 : 卡稱570F 07/12 18:03
推 : 養網軍錯了嗎?難道你要投藍571F 07/12 18:05
推 : 蟑螂來推柯糞啊 讓大家看看2700的力量572F 07/12 18:06
噓 : 幹林老師,民進黨到底要多噁心,當初我還支持根本智障573F 07/12 18:06
→ : [url=https://imgur.com/pBZPWxU]https://i.imgur.com/pBZPWxU.jpg[/url]574F 07/12 18:07
![[圖]](https://i.imgur.com/pBZPWxU.jpg)
→ : [url=https://imgur.com/QvPi4QX]https://i.imgur.com/QvPi4QX.jpg[/url]575F 07/12 18:07
![[圖]](https://i.imgur.com/QvPi4QXh.jpg)
→ : [url=https://imgur.com/v6JKEbq]https://i.imgur.com/v6JKEbq.jpg[/url]576F 07/12 18:09
![[圖]](https://i.imgur.com/v6JKEbqh.jpg)
→ : 蟑螂琪姊又要護航囉577F 07/12 18:09
推 : 花大錢選舉 選後要撈多少?578F 07/12 18:09
推 : 是用政府的錢?還是用民進黨的錢?還是用小英的錢?579F 07/12 18:10
推 : 1450(x 2700(o580F 07/12 18:10
→ : 蟑螂長老581F 07/12 18:11
推 : 洗錢空殼公司啊582F 07/12 18:12
推 : 蔡英文戶頭+2700萬台幣存款583F 07/12 18:18
推 : 難怪 蟑螂事業蓬勃發展584F 07/12 18:21
→ : 小菸選 那誰出錢 柯p是募款加自己
→ : 小菸選 那誰出錢 柯p是募款加自己
推 : 發大財 蔡英文政績+1586F 07/12 18:24
推 : 繼續檢討販賣機587F 07/12 18:25
推 : 關心不介入588F 07/12 18:29
推 : 假日還一堆蟑螂亂竄589F 07/12 18:29
推 : 蟑螂屋590F 07/12 18:31
推 : 綠蟑螂大本營591F 07/12 18:38
→ : 才2700?呵呵592F 07/12 18:39
推 : 不滿意的 是想被中國統嗎593F 07/12 18:39
推 : 難不成你要選……?594F 07/12 18:42
推 : 怪不得綠蟑螂殺不完 2700萬 呵呵595F 07/12 18:43
推 : 蟑螂今天休假 沒空596F 07/12 18:43
推 : 開始囉 綠蟑開抹597F 07/12 18:43
推 : 了不起 名下都負債 都付給這些公司 哈598F 07/12 18:44
推 : 蟑螂粗乃玩599F 07/12 18:45
推 : 新頭殼造反了?600F 07/12 18:45
→ : 閉嘴好嗎,你的錢就是我綠的601F 07/12 18:46
→ : 網軍已經被洗成負面詞了 呵呵602F 07/12 18:49
推 : 先問有沒有合法?有合法就沒事603F 07/12 18:50
推 : 哇靠 民眾黨具體網軍公司都找不到 跟民進黨相關的就604F 07/12 18:50
→ : 好幾個啊
→ : 好幾個啊
推 : 說個笑話 民眾黨沒網軍606F 07/12 18:52
→ : 民眾黨是現在唯一有網軍的,不是已經被認證了607F 07/12 18:55
推 : 綠蟑螂:快扯柯跟民眾黨,不然薪水要沒了608F 07/12 18:57
推 : 笑死 下面馬上有個x網軍跳出來609F 07/12 19:00
推 : 納稅錢轉一轉就變不見了 我大菸蒂果然是博士 手法不凡阿610F 07/12 19:06
推 : DPP噁心611F 07/12 19:11
→ : 蟑螂目的不是要洗你腦,而是洗網路聲量,把人民真正的聲音洗612F 07/12 19:13
→ : 下去就達成目的了!!!
→ : 下去就達成目的了!!!
推 : 817最愛614F 07/12 19:13
推 : 沒事沒事 顏色對了 做什麼都會被原諒^_^615F 07/12 19:16
推 : 綠共真的很有錢 羨慕616F 07/12 19:18
推 :617F 07/12 19:21
推 : 超選?綠蟑螂洗地啦!開蟑剩母呢?618F 07/12 19:26
推 : $$$$$$$$$$$$619F 07/12 19:27
→ : 人家就選上了,不然你要怎樣620F 07/12 19:33
→ : 這公司接蔡英文陣營的競選宣傳,又沒有去標政府標案621F 07/12 19:34
推 : 才二千多萬,去看四年八千多萬的好嗎? 你各位的稅金622F 07/12 19:36
→ : 817給狗幹吧623F 07/12 19:44
推 : 選後關門。嗯624F 07/12 19:46
推 : 顏色對了誰敢嘴625F 07/12 20:04
→ : 可以問一下當今副總統啊 嘻嘻626F 07/12 20:06
→ : 這怎樣躲起來是不是627F 07/12 20:08
推 : 817拿的,錯了嗎?628F 07/12 20:09
→ : 小菸政績629F 07/12 20:10
推 : 哈 蟑螂死全家630F 07/12 20:14
推 : 有價值真的好爽喔631F 07/12 20:19
推 : 高調632F 07/12 20:20
推 : 獻金不能進自己口袋 不過給人家洗洗後就不一樣了 懂?633F 07/12 20:25
推 : 台灣價值 小菸政績634F 07/12 20:46
推 : 政治獻金有法律約束,但是洗完之後進口袋就是白的635F 07/12 20:47
推 : 蟑螂屋636F 07/12 20:48
推 : 小菸唯一歷史定位 蟑螂之母!637F 07/12 20:49
![[圖]](https://i.imgur.com/tBNOqlo.jpg)
噓 : 817裡面有600是要拒絕老共的,有網紅沒網紅都會贏,不639F 07/12 21:11
→ : 過以後牠娘的誰在給我捧網紅的44看
→ : 過以後牠娘的誰在給我捧網紅的44看
推 : 好棒棒641F 07/12 21:20
推 : 蟑螂收錢收得開心 促進經濟跟八卦流量阿642F 07/12 21:22
推 : 你他媽的母豬643F 07/12 21:22
→ : 才2700萬 一個app就1.5億了 記者是沒別的新聞報了嗎644F 07/12 21:39
→ : 真的好爽哦,可惜年輕的時候不知道黨證的重要性645F 07/12 22:06
推 : 還好吧,不就臺灣價值646F 07/12 22:06
推 : 藍綠一個樣....647F 07/12 22:22
→ : 造神專用經費648F 07/12 22:25
推 : 有八卦給推649F 07/12 22:28
推 : 推650F 07/12 22:34
推 : 一切合法,謝謝指教651F 07/12 23:00
噓 : 疑652F 07/12 23:06
推 : 意外嗎... 菸粉繼續掩耳盜鈴吧653F 07/12 23:13
→ : 幾個月爽賺幾千萬 這就是台灣價值啦654F 07/12 23:16
推 : 蟑螂滿地爬...655F 07/12 23:23
推 : 機密656F 07/12 23:24
推 : 居然有超過一千萬...657F 07/12 23:32
噓 : 好惹辣,先讓妮們高興幾天,又沒選舉,現在八掛板都是658F 07/12 23:47
→ : 柯憤在養網軍
→ : 柯憤在養網軍
推 : [url=https://imgur.com/F5PA8zb]https://i.imgur.com/F5PA8zb.jpg[/url]660F 07/12 23:56
![[圖]](https://i.imgur.com/F5PA8zb.jpg)
推 : 台灣價值讚啦661F 07/12 23:58
推 : [url=https://imgur.com/xB285Sj]https://i.imgur.com/xB285Sj.jpg[/url]662F 07/12 23:58
![[圖]](https://i.imgur.com/xB285Sj.jpg)
推 : 蟑螂教皇663F 07/12 23:59
噓 : 我跟妮們講其實台灣算好的,美國白痴更多,隨便操弄也664F 07/13 00:03
→ : 是有用的,全世界都一樣,人跟瘴狼或是人跟羊都一樣,
→ : 都是跟著走,以後就是比操弄,沒錢沒公關公司,選什麼
→ : 舉?
→ : 是有用的,全世界都一樣,人跟瘴狼或是人跟羊都一樣,
→ : 都是跟著走,以後就是比操弄,沒錢沒公關公司,選什麼
→ : 舉?
推 : 台灣價值668F 07/13 00:11
推 : 可見817很多都是被洗腦帶風向的 可憐哪669F 07/13 00:52
推 : 這有啥意外的 找個人頭公司包裝一下 不讓你知道花去哪670F 07/13 01:18
→ : 而已
→ : 而已
推 : 這個真的蠻扯的672F 07/13 01:37
推 : 選舉不就是這樣嗎?大驚小怪673F 07/13 02:15
推 : 難怪網軍這麼多錢674F 07/13 02:22
推 : newtalk是眼紅在造反了嗎675F 07/13 02:26
推 : 有卦有推676F 07/13 02:32
推 : 某幾樓蟑螂綠畜真氣xD677F 07/13 03:00
推 : 綠色夢想家678F 07/13 04:06
推 : 蟑螂教母679F 07/13 08:26
推 : 垃圾母豬680F 07/13 08:51
推 : 才2700這麼少681F 07/13 09:43
推 : 八卦回來了682F 07/13 10:32
--
※ 看板: Gossiping 文章推薦值: -1 目前人氣: 0 累積人氣: 549
作者 victoryman 的最新發文:
- 原文來源: 上報 原文摘要: 【不對稱戰力】小神盾艦配台版「戰斧」飛彈 地面遠距打擊火力升級 朱明 2025年10月25日 18:41:00 2026年度國防部公開預算書顯示,海軍編列1億4203萬 …114F 46推
- 原文來源: 上報朱明 原文摘要: 【內幕】M60A3戰車引擎升級喊停 中科院積極對外找商機、陸軍卻消極無作為 朱明 2025年09月28日 17:45:00 台北航太展期間中科院與義商李奧納多子公司 …93F 27推 3噓
原文來源: 上報朱明 原文摘要: 【內幕】輕巡艦量產計劃縮水 減少5艘改2500噸雙船體火力艦 朱明 2025年05月24日 12:40:00 海軍新一代輕型巡防艦防空型與反潛型原型艦,目前正在高雄 …117F 52推
原文來源: 上報 朱明 2024年11月10日 18:00:00 原文摘要: 高雄艦明年除役+拉法葉與輕巡艦裝載彈容有限 海弓三防空飛彈暫緩 中山科學院海上作戰系統與艦載防空飛彈測試平台的海軍舷號L …87F 29推
點此顯示更多發文記錄
1樓 時間: 2020-07-12 15:26:08 (台灣)
→
07-12 15:26 TW
這很正常建商也是有短期的銷售公司作配合啊 甚至有些公司接了大筆的外銷訂單.. 人力資源也是找人力仲介公司約聘短期雇工..國家口罩隊不也是相同作法..
4樓 時間: 2020-07-12 18:12:39 (台灣)
→
07-12 18:12 TW
柯粉,KMTer都不點進去新聞看... https://tw.appledaily.com/politics/20200712/LM7ES5KAGBOG3R65PNO5KWFSGY/韓導的部份凱絡媒體服務 2.3億 三通網資訊 2000萬 健豪印刷 1585萬 新極現廣告 1289萬 民間全民電視 1050萬藍綠都有吧,韓導也很多《蘋果》連絡上大橡科技CEO蔡柏宣,他低調表示,他們大多做商業客戶,實際提供哪些服務是客戶隱私,不便多說。但他也證實,除民進黨外,台北市長柯文哲及藍營丁守中,都曾是他們的客戶。
5樓 時間: 2020-07-12 18:17:07 (台灣)
→
07-12 18:17 TW
最好是立法,選舉甚麼等級,只能用多少錢,而且必須報備 大家都用相同的錢,相同起跑點,這樣才公平政治獻金歸政治獻金,可用多少經費在選舉上 如果政治獻金不夠,政府先出,選舉補助款在扣掉 不足則候選人必須自費這樣政治獻金也可以有個達標的金額另外也該立法,選舉補助款,如果被罷免要繳回
回列表(←)
分享

